PONCEUSE ORBITALE ROTATIVE
Code UT8788
Ponceuse classique de préparation de surface.
PONCEUSE ORBITALE ROTATIVE
STANDARD
Réf. UT8788
Identifiants incorrects
Connectez-vous pour connaître votre prix
Vous n'avez pas de compte ?
Créez un compte distributeur
Accessoires conseillés
Sélectionnez un ou plusieurs accessoires pour les ajouter à votre panier
Tableau technique
Consommation :
170 L/min
Niveau sonore dB :
94
Pression de service :
6,40 bar
Raccord :
1/4'' bspt
Type :
Orbitale
Utilisation :
Régulière
Vitesse à vide :
10000 tr/min
Taille de la broche :
F5/16''
Excentration :
5 mm
Type de plateau :
Velcro
Taille de plateau :
150 mm
Aspiration :
Non
Poids :
1,80 Kg
Longueur :
215 mm
Documents relatifs au produit
Avantages produits
Ponceuse classique de préparation de surface.
Description technique
Ponceuse livrée avec un cône protecteur, évitant à l'opérateur le risque d'être heurté par le verrou de broche. Livrée avec un plateau de type scratch, ou sur simple demande avec un plateau pour disque auto collant.
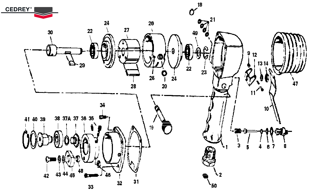
Vues éclatées
Repère
Code
Stock
Libellé
01
En rupture
CARTER POIGNEE UT8788
02
En rupture
RACCORD D'ADMISSION UT8751-52
03
En rupture
RESSORT UT1054/8788
04
En stock
JOINT TORIQUE UT8824 / 8788
05
En rupture
TIGE DE SOUPAPE UT8788
06
En rupture
JOINT TORIQUE UT8788
07
En stock
JOINT TORIQUE UT8788/UT8778/80 00A/B/11A
08
En rupture
CORPS DE SOUPAPE UT8788
09
En rupture
ECROU UT8788
10
En rupture
LEVIER GACHETTE UT8788
11
En rupture
VIS UT8788
12
En rupture
SUPPORT POIGNEE POUR UT8788
13
En rupture
RONDELLE POUR UT8788
14
En rupture
ECROU UT8788
19
En rupture
REGULATEUR UT8788
20
En stock
JOINT DE BROCHE 1/2'' POUR UT8125
21
En stock
JOINT TORIQUE UT8704/8825/888 0RD/8764/68/8920B
22
En stock
ROULEMENT UT8788 (24531)
23
En rupture
CIRCLIPS UT8788
24
En stock
FLASQUE AR UT8788
25
En rupture
GOUPILLE UT8788
26
En stock
CYLINDRE UT8788/94
27
En stock
ROTOR UT8788
28
En stock
PALETTE UT8788/8794
29
En rupture
CLAVETTE UT8788/8794
30
En rupture
ARBRE DU ROTOR UT8788
31
En stock
JOINT UT8788
32
En rupture
CARTER AV UT8788
33
En rupture
VIS UT8788/ 8794
35
En rupture
VIS UT8788
36
En rupture
EXCENTRIQUE UT8788
37
En rupture
VIS UT8788
37A
En rupture
RONDELLE UT8788
38
En stock
ROULEMENT UT8788
39
En rupture
BROCHE UT8788
40
En rupture
RONDELLE RESSORT POUR UT8788
41
En rupture
CIRCLIPS POUR UT8788
47
En rupture
CACHE PROTECTEUR UT8788
48
En rupture
ENTRETOISE UT8788
49
En rupture
RONDELLE RESSORT UT8788
52
En rupture
PLAQUE UT8030R / UT8742 / UT87 44 / 8788
01
En rupture
C-729134
CARTER POIGNEE UT8788
02
En rupture
C-729084
RACCORD D'ADMISSION UT8751-52
03
En rupture
C-729115
RESSORT UT1054/8788
04
En stock
C-732063
JOINT TORIQUE UT8824 / 8788
05
En rupture
C-729117
TIGE DE SOUPAPE UT8788
06
En rupture
C-729118
JOINT TORIQUE UT8788
07
En stock
1008680
JOINT TORIQUE UT8788/UT8778/80 00A/B/11A
08
En rupture
C-729120
CORPS DE SOUPAPE UT8788
09
En rupture
C-729121
ECROU UT8788
10
En rupture
C-729122
LEVIER GACHETTE UT8788
11
En rupture
C-729123
VIS UT8788
12
En rupture
C-729124
SUPPORT POIGNEE POUR UT8788
13
En rupture
C-729125
RONDELLE POUR UT8788
14
En rupture
C-729126
ECROU UT8788
19
En rupture
C-729939
REGULATEUR UT8788
20
En stock
1008695
JOINT DE BROCHE 1/2'' POUR UT8125
21
En stock
1008173
JOINT TORIQUE UT8704/8825/888 0RD/8764/68/8920B
22
En stock
C-729136
ROULEMENT UT8788 (24531)
23
En rupture
C-729137
CIRCLIPS UT8788
24
En stock
C-729138
FLASQUE AR UT8788
25
En rupture
C-729139
GOUPILLE UT8788
26
En stock
C-729140
CYLINDRE UT8788/94
27
En stock
C-729141
ROTOR UT8788
28
En stock
C-729142
PALETTE UT8788/8794
29
En rupture
C-729144
CLAVETTE UT8788/8794
30
En rupture
C-729940
ARBRE DU ROTOR UT8788
31
En stock
C-729155
JOINT UT8788
32
En rupture
C-729154
CARTER AV UT8788
33
En rupture
1014354
VIS UT8788/ 8794
35
En rupture
1011871
VIS UT8788
36
En rupture
C-729941
EXCENTRIQUE UT8788
37
En rupture
C-729152
VIS UT8788
37A
En rupture
729152A
RONDELLE UT8788
38
En stock
C-729153
ROULEMENT UT8788
39
En rupture
C-729150
BROCHE UT8788
40
En rupture
C-729160
RONDELLE RESSORT POUR UT8788
41
En rupture
C-729151
CIRCLIPS POUR UT8788
47
En rupture
C-729135
CACHE PROTECTEUR UT8788
48
En rupture
C-729344
ENTRETOISE UT8788
49
En rupture
C-729345
RONDELLE RESSORT UT8788
52
En rupture
C-729343
PLAQUE UT8030R / UT8742 / UT87 44 / 8788